De lichtseinen van de Nederlandse Spoorwegen - deel1
Origineel geschreven door een onbekende schrijver
Gepubliceerd in Hobby Bulletin, december 15e jaargang - 1962
Originele titel: De lichtseinen van de Nederlandse Spoorwegen

In Nederland is men wat betreft de modern-isering van de beveiligingsinstallaties niet achtergebleven bij andere Europese landen.
Een van de onderdelen hiervan is het toepassen van lichtseinen i.p.v. armseinen. Voor 1940 had N.S. daarmede al — zij het op bescheiden schaal — gunstige ervaringen opgedaan. Afgezien echter van de voordelen van lichtseinen boven armseinen, waren voor een omschakeling op lichtseinen nog bijzondere redenen, o.a.:
- het opvoeren van de snelheid
- plannen voor een snelle uitbreiding van de elektrificatie
- plannen voor een snelle uitbreiding van het automatisch blokstelsel
- het voornemen de wederopbouw van de grootste vernielingen, door de oorlog ontstaan, te koppelen aan de uitvoering van nieuwe plannen voor de emplacementen van deze stations en de daarmede verband houdende beveiligingsinstallaties; bij deze laatste dan tevens rekening te houden met de nieuwste ontwikkelingen, o.m. bedieningstoestellen in de vorm van het sporenplan, waarbij de mechanische afhankelijkheid tussen seinen en wissels, enz. en tussen de seinen onderling volledig zijn vervangen door contacten aan relais.

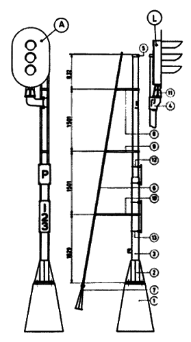
Fig. 1. Het lichtsein kan. afhankelijk van de te tonen sein-beelden zijn uitgevoerd voor 2, 3 of 4 lichten.
1. betonnen paalfundatie
2. gietijzeren paal voet
3. stalen buispaal. 0 140/170 mm
4. uithouder voor lichtsein
5. paalkap
6. ladder
7. gietijzeren laddervoet 8., 9. en 10. laddersteunen
11. stelstuk voor instellen lichtsein
12-13. beugels met strop v. bevestiging nummerbord en P-bord L. lichtsein 3 lichten A. achtergrondscherm voor idem
Met de armseinen zijn voor aftakkingen op de vrije baan en op de stations slechts 2 snelheids-aanduidingen mogelijk, n.l.:
a - voorbijrijden toegestaan met de ter plaatse toegelaten snelheid (max. 125 km/u) en met inachtneming van de beperkingen voor de trein.
b - voorbijrijden toegestaan met een snelheid van ten hoogste 40 km/u.
Voor een nadere snelheidsaanduiding, afwijkend van bovengenoemde, wordt gebruik gemaakt van vierkante witte borden, waarop een uit één of meer zwarte cijfers bestaand getal. Deze borden zijn bevestigd onder de betreffende seinarm en daarmede worden eventuele snelheidsbeperkingen, die in een voorschrift zijn vastgelegd en dus aan de machinist bekend zijn, aan deze in herinnering gebracht.
Door het opvoeren van de snelheid tot 125 km/u was er behoefte aan een seinstelsel met snelheidsaanduiding in de seinbeelden voor meer dan 2 snelheden. Dit te verwezelijken met armseinen was uitgesloten, omdat op geëlektrificeerde baanvakken door de bovenleiding-constructie moeilijkheden zouden ontstaan voor het verkrijgen van een goede zichtbaarheid.
Seinstelsel 1946
In 1946 werd een lichtseinstelsel ingevoerd voor een snelheidsaanduiding in 3 trappen voor de seinen, die meer dan één snelheid kunnen aangeven, n.1. voor hoge, midden en lage snelheid. Bij dit seinstelsel worden voor de overige snelheidsaanduidingen de 3 snelheidstrappen eventueel aangevuld door een uit één of meer cijfers bestaand getal, geschilderd op de achtergrondschermen van de lichtseinen. Het seinstelsel 1946 is, evenals het seinstelsel met armseinen, nog op verschillende stations en baanvakken in dienst, maar zal met het voortschrijden van de modernisering uiteindelijk worden vervangen door het seinstelsel 1955. Wij zullen ons daarom en i.v.m. de plaatsruimte verder beperken tot laatstgenoemd lichtseinstelsel.
Ten einde verwarring te voorkomen werd de betekenis van de seinbeelden van de oude seinstelsels voor zover nodig aangepast aan die van het lichtseinstelsel 1955.
Het lichtseinstelsel 1955
Voor een wijziging van het seinstelsel 1946 waren bijzondere redenen, o.a.:
- verandering van de eisen omtrent de beremming
- de wenselijkheid om de snelheid niet in 3 trappen, aangevuld door een getal geschilderd op de achtergrondschermen van de lichtseinen, doch - opklimmend met 10 km/u - volledig in het seinbeeld aan te geven.
- De mogelijkheid om zonder te hoge kosten eventueel te kunnen overgaan tot het invoeren van cabineseinen.
Bij het ontwerpen van dit lichtseinstelsel werd o.m. uitgegaan van de volgende eisen:
- een bevel tot stoppen moet op remwegafstand van het „stop" tonend sein kenbaar worden gemaakt.
- de verplichting om met een verminderde snelheid te rijden moet op zodanige afstand kenbaar zijn dat de snelheidsvermindering op het punt waar deze moet aanvangen met een normale remming kan zijn uitgevoerd.
- storing mag geen aanleiding kunnen geven tot het ten onrechte tonen van een minder restrictief seinbeeld.
- het tonen van meer seinkleuren in één seinbeeld moet vermeden worden, dus geen rood gelijktijdig met geel of groen en geen geel gelijktijdig met groen.
-
de seinbeelden moeten de machinist alleen aanwijzing geven over de snelheid, dus snelheidsseingeving. Dit in tegensteljing met richtingsseingeving met vertakkingsseinen (armseinen), waarbij tevens bij splitsingen op de vrije baan en op stations wordt aangegeven naar welke richting de trein wordt geleid. N.l. naar de richting, die overeenkomt met de plaats van de betreffende seinarm in het seinbeeld.
Slechts waar dit voor de veiligheid nodig is, moet bij een splitsing de richting worden aangegeven, voor zover deze niet uit het seinbeeld door de snelheidsaan-duiding blijkt. Hiervoor wordt dan een speciaal ricntingssein toegepast (fig. 4).
De constructie van de lichtseinen
Alvorens de verschillende seinbeelden te omschrijven, aangevuld met enkele toepassingsvoorbeelden, eerst iets over de samenstelling van de lichtseinen.
Deze worden uitgevoerd als hoog sein en als laag sein (zgn. dwergsein). Het verschil in betekenis van hoog- en laaggetoond licht zal straks blijken bij de bespreking van de verschillende seinbeelden. Voor een nadere snelheidsaanduiding wordt o.m. onder het lichtsein een cijferbak met één of meer verlichte cijfers aangebracht.
Het getal geeft met 10 vermenigvuldigd de snelheid aan in km/u.
Voor de samenstelling verwijzen wij naar de fig. 1, 2 en 3. Bovendien zijn nog enkele afbeeldingen opgenomen, die een nadere indruk geven van de opstelling van de lichtseinen langs de vrije baan en op een emplacement. Hierbij dient nog het volgende te worden opgemerkt. Het stelstuk 11 (fig. 1) dient om het lichtsein op de juiste wijze te richten, met het oog op een goede zichtbaarheid.
Ten einde de kans op verstellen van de as van de lichtkegel door winddruk of verzakken te voorkomen, zijn de lichtseinpalen en dwergseinen op een betonnen voet geplaatst.
Alle automatische lichtseinen zijn, ter onderscheiding van bediende lichtseinen aangeduid met een P-bord, omdat de maatregelen die zijn voorgeschreven na stoppen voor een „stop” tonend lichtsein of voor een gedoofd lichtsein, voor automatische seinen belangrijk verschillen van die voor bediende seinen. Lichtseinen die geen „stop” kunnen tonen zijn voorzien van een rechthoekig achtergrondscherm.
Het lichtsein L bestaat uit een waterdichte (gietijzeren kast, waarin naar behoefte 2, 3 of 4 lamphouders met gloeilamp 10,2 V/25 W of 10,2 V/ 13,3 W zijn gemonteerd, alsmede de nodige heldere en gekleurde lenzen. Bovendien is in de kast plaats voor het monteren van transformatoren 120/12 volt en regelbare weerstanden voor het instellen van de juiste lampspanning.
De cijferbak is een waterdicht uitgevoerde kast, aan de voorzijde afgesloten door een matglazen ruit. In de kast zijn, afhankelijk van het (de) te tonen lichtcijfer(s) de benodigde lamphouders met lens gemonteerd; alle gloeilampen die het lichtcijfer vormen zijn parallel geschakeld en aangesloten op een transformator 110/12 V. De gloeilampen zijn 12V/3W. De juiste lampspanning kan worden ingesteld m.b.v. een regelweerstand. Transformator en regelweerstand zijn eveneens in de kast gemonteerd.
De Seinbeelden
De seinbeelden, die bij het seinstelsel 1955 kunnen worden getoond, zijn hieronder aangegeven:
| Omschrijving | Betekenis | Aanwijzing voor de dienstuitvoering |
|---|---|---|
| Een rood licht (van hoog sein of dwergsein) | Stop | |
| Een hoog geplaatst geel licht met daaronder een uit één of twee verlichte cijfers bestaand getal | Snelheid verminderen tot die welke door het getal wordt aangegeven | Wanneer het cijfer een 3 is, moet de machinist er op rekenen, dat het eerstvolgende sein „beperkte snelheid” toont |
| Twee gele lichten verticaal onder elkaar geplaatst | Snelheid verminderen tot halve diensregelingssnelheid | |
| Een hoog- of laaggeplaatst geel licht | Snelheid verminderen tot 30km/h; de remming voortzetten tot de trein of het rangeerdeel binnen zichtafstand voor een stop tonend vast sein tot stilstand gebracht kan worden | |
| Een hoog- of laaggeplaatst snel flikkerend geel licht | Beperkte snelheid | Omdat het spoor bezet kan zijn of omdat de trein moet stoppen vóór de plaats tot waar de machinist mag verwachten te mogen rijden |
| Een hooggeplaatst groen licht | Voorbijrijden toegestaan | Met ten hoogste de voor dit baanvakgedeelte toegestane snelheid |
| Een hooggeplaatst flikkerend groen licht met daaronder een uit één of twee verlichte cijfers bestaand getal | Voorbijrijden met de door het getal aangegeven snelheid toegestaan | |
| Een hooggeplaatst flikkerend groen licht of een laaggeplaatst groen licht | Voorbijrijden met lage snelheid toegestaan |
Ter nadere verduidelijking volgen hieronder nog de begripsomschrijvingen van enkele uitdrukkingen:
- dienstregelingssnelheid = de als dienstregelingssnelheid in de tijdtafel aangegeven snelheid, dan wel een in het bijzonder aan de machinist opgelegde lagere snelheid.
- De betekenis van: „Twee gele lichten verticaal boven elkaar” is dus niet altijd hetzelfde. Voor een sneltrein, die met 120 km/u is ingelegd, zal dit betekenen snelheid verminderen tot 60 km/u. Voor een trein, die met b.v. 60 km/u is ingelegd, snelheid verminderen tot 30 km/.
- lage snelheid = tenzij plaatselijk een andere snelheid is aangegeven of voorgeschreven; 30 km/u, evenwel met zodanige beperking dat de remweg van de trein op de vlakke baan niet groter is dan 250 m.
- beperkte snelheid = ten hoogste 30 km/u, waarbij de snelheid ten aanzien van het zicht zodanig moet worden geregeld, dat i.v.m. het te verwachten gevaar tijdig kan worden gestopt.
Bij dichte mist zal de snelheid b.v. niet hoger mogen zijn dan 5 km/u.





